Ładowacz czołowy Tur Case Vestrum CVX 100;110,120,130
Nowe Rakowo gm. Mały Płock Pokaż na mapie ›
Ogłoszenie archiwalne Wygasło: Środa, 24 Grudzień, 2025 08:26
7 500 zł
Szczegóły ogłoszenia
- Kategoria: Części do maszyn rolniczych
- Stan:Nowe
- Cena: 7 500 zł
Opis oferty
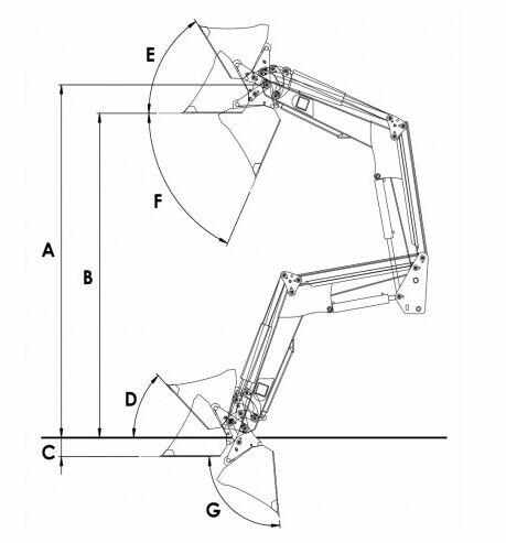
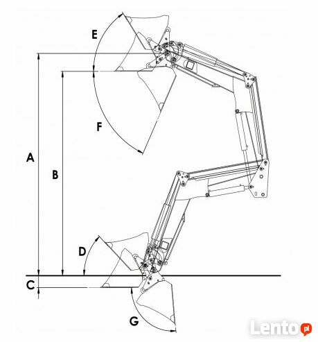
FIRMA KUAR OFERUJE:Ładowacz czołowy ŁC SNR 400/400L
Udźwig nominalny na osi obrotu- 1800 kg
Siłowniki hydrauliczne- 80/80 mm
Wysokość podnoszenia (A)- 3700 mm
Wysokość załadunku (B)- 3400 mm
Głębokość kopania (C)- 50-200 mm
Kąt zamknięcia łopaty w pozycji dolnej (D) 45°
Kąt zamknięcia łopaty w pozycji górnej (E) 57°
Kąt wychylenia łopaty w pozycji górnej (F) 65°
Kąt wychylenia łopaty w pozycji dolnej (G) 95°
Waga urządzenia- 560 kg
Ciśnienie w układzie hydraulicznym- 18 Mpa
Amortyzator wstrząsu membranowy- Standard
Numer konstrukcji wporczej- KW 03
Case Vestrum CVX 100/110/120/130/ActiveDrive 100/110/120/130/
956XL/Cs86,Cs/Maxxum110/115/120/130/Farmall 95U/105U/115U/90A/95A/105A/115A/Farmall 115U PRO/Maxxum stage IV 115/125/135/145/150/Luxum stage IV 100/110/120/Cs 100/
Class Arion A32 Tier 4i: 410/420/430/440/Celtis RX:456/436/Atos 340
Deutz Fahr Agrotron 100/Dx4.70/Agrofarm: 420/430/5090.4G/5105.4G/5110GGS/5.105GS/5095GS/5120G Gs/5125 Gs/5100C/5120Dt/6115C/6115Ttv/6135C/Power Shift 6120/6130/6130ttv/6120ttv/6150/Agrofarm 430 G/5095Gs/5105Gs/5115Gs/5125Gs/5********/5115/5125/5015 Keyline/6.01s/Agrotron 106 MK3
Fendt Farmer Turbomatic 310/310 Lsa/308 Ls/311 Lsa/Wario 309/310/311/412 Tms/711/712/Favorit 509C/512C/611 Lsa
Kubota M105 Gx-III/M95 GX-III/Mg95-IV/M105 Gx-IV/Utility M6-121/M6131/M6-141
Jesteśmy autoryzowanym dealerem firmy SONAROL,
OBSŁUGA GWARANCYJNA I SERWISOWA
To ogłoszenie jest archiwalne i może być nieaktualne.
- Wypromuj ogłoszenie
- Zgłoś naruszenie
- Edytuj/usuń ogłoszenie
- Udostępnij ogłoszenie
- Dodaj na Facebook



















